Кабельрост DDM1000H55/6 (403691)

Виробник: BAKS
Артикул: DDM1000H55/6
Ціна за дзвінком

Прокладання вертикальних кабельних трас різних типів.

Матеріал

S - Сталь, оцинкована методом Сендзіміра PN-EN 10346:2015-09

Доступні варіанти оздоблення:

F - гарячеоцинкована сталь PN-EN ISO 1461:2023-02

E - нержавіюча сталь

L - фарбування у стандартний колір RAL

Додаткова інформація

– використання нової сходинки зі збільшеними параметрами міцності підвищує жорсткість драбини

– драбини зі сходами, встановленими з обох боків.

– можливість монтажу кабелів у затискачах UKZ/UKZO... та UK/UKO... та UKZP... та UKP... на обох

боки драбини

– варіант E – лише для ділянок до 3 м

Характеристики товару

Назва атрибуту Значення атрибуту
Системи кабельних трас
Типи елементів кабельрост
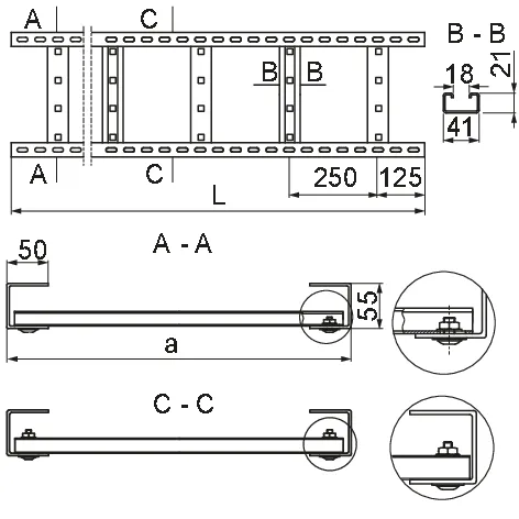
Висота борта H55
Товщина листа 3.0 мм
Властивості матеріалу S - оцинкована сталь за методом Сендзіміра, F - гарячеоцинкована сталь, E - нержавіюча сталь, L - фарбування в стандартний колір RAL
Монтаж Для важких навантажень
Вага 1м [кг] 10.94 kg
Кількість у коробці [шт/м] 1 / 6 pcs. / m.
Довжина L [мм] 6 000 mm
Ширина a [мм] 1,000