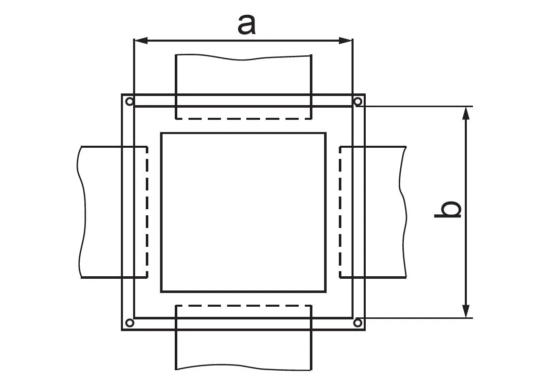
Коробка розподільна UDHE4/70-130 (251414) Виробник: BAKS Артикул: UDHE4/70-130 Ціна за дзвінком Кількість: Замовити Індивідуальний список бажань ОК Додати до списку бажань Додати до списку порівняння Повідомити друга Для конкретної кришки: прямокутна або квадратна; для монтажу в бетонну стяжку; передбачити опорну конструкцію для шарнірних (або глухих) кришок. Коробки в комплекті: з вирівнювальними гвинтами та ніжками для приглушення звуку кроків. Характеристики товару Назва атрибуту Значення атрибуту Системи кабельних трас Типи елементів коробка Товщина листа 0.0 мм Вага 1шт [кг] 3 Тип 513 Кількість [шт] 1 Розмір a [мм] 401 Розмір b [мм] 356 Діапазон рівня макс. 0.13 Діапазон рівня мін. 0.07
Для конкретної кришки: прямокутна або квадратна; для монтажу в бетонну стяжку; передбачити опорну конструкцію для шарнірних (або глухих) кришок. Коробки в комплекті: з вирівнювальними гвинтами та ніжками для приглушення звуку кроків.